Leasing de TADANO Cabine e interior
2
à venda
2
TADANO


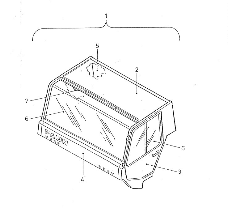
New TADANO FAUN ATF superstructure cab for TADANO FAUN ATF mobile crane
Cabine por Grua móvel
Novo2024
Novo
Látvia, 181 Vienibas gatveRiga, LV-1058Latvia
Publicado: 4meses. 12ds.
Preço a pedido
Novo2024
Novo
Látvia, 181 Vienibas gatveRiga, LV-1058Latvia
Formulário para contactar

Tadano Faun RTF
Cabine por Grua móvel
2001Adequado para modelos: RTF40-3
RTF50-4
RTF60-4
Látvia, 181 Vienibas gatveRiga, LV-1058Latvia
Publicado: 11meses. 4ds.Número de referência 99707738661
Preço a pedido
2001Adequado para modelos: RTF40-3
RTF50-4
RTF60-4
Látvia, 181 Vienibas gatveRiga, LV-1058Latvia
Formulário para contactar
T1 new listing page - Leasing de TADANO Cabine e interior